Контакты:
Амазонка бай
Телефоны:
Режим работы:
  • Пн-Пт: 09:00 - 18:00
  • Сб-Вс: 24/7
Принимаем заказы через корзину круглосуточно
Адрес и схема проезда:
  • г Минск, ул.Горовца 32
  • e-mail: zakaz@amazonka.by
Посмотреть схему проезда
Телефоны:
Амазонка бай
Каталог товаров Меню
Список товаров

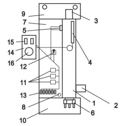
Электрический котел ЭВАН Next 28

  • Вес: 0 кг.
Артикул: 12311697
  • 0 BYN Выгода -2130 BYN
  • 2 130 BYN
    В наличии

Предложите свою цену

dollar-account
Нашли дешевле?
Гарантия 12 месяцев
  • Характеристики

    Производитель   Эван
    Площадь обогрева, м²   280
    Теплообменник   Да
    Страна   Россия
    Гарантия мес   12
    Напряжение В   380
    Тип   Одноконтурный
    Установка   Настенный
    Циркуляционный насос   нет
    Расширительный бак   нет
    Стабилизатор напряжения   нет
    Воздушный регулятор   нет
    Микропроцессор   да
    Дисплей   нет
    Нагреваетльный элемент   ТЭН
    Регулировка ТЭНа (мощности)   ручная
    Защита от замерзания   есть
    Материал теплообменника   Сталь
  • Описание

    Электрический котел ЭВАН Next 28 — это мощное и надёжное решение для обогрева больших помещений, таких как частные дома и дачи, с площадью до 280 м². Модель создана российским производителем Эван, который известен высоким качеством своей отопительной техники. Этот одноконтурный котел предназначен исключительно для отопления и устанавливается на стену, что позволяет экономить место и обеспечивает удобство монтажа.

    Основным элементом нагрева в котле является ТЭН, который гарантирует стабильный и равномерный прогрев теплоносителя. Благодаря ручной регулировке мощности ТЭНа можно настроить работу котла в зависимости от текущих условий, что способствует экономии электроэнергии. Модель не оснащена встроенным дисплеем, но управление остаётся простым и интуитивным, позволяя пользователю легко контролировать параметры работы.

    Котел оборудован стальным теплообменником, который обеспечивает долговечность и эффективность устройства. Сталь является прочным материалом, устойчивым к коррозии и воздействию высоких температур, что увеличивает срок службы оборудования и его надёжность в эксплуатации.

    ЭВАН Next 28 поддерживает работу с напряжением 380 В, что делает его подходящим для больших домов, где требуется высокая мощность. Микропроцессорный контроль обеспечивает точную настройку и автоматическое поддержание заданных параметров отопления, что делает работу котла эффективной и удобной.

    Важной особенностью этой модели является защита от замерзания, которая предотвращает поломку системы при низких температурах. Это особенно актуально для загородных домов, которые могут не использоваться постоянно в зимний период.

    Котел не оборудован встроенным циркуляционным насосом и расширительным баком, что требует дополнительной установки этих элементов для полноценной работы системы отопления. Также в модели отсутствует стабилизатор напряжения, поэтому для защиты устройства от перепадов напряжения рекомендуется предусмотреть установку внешнего стабилизатора.

    Электрический котел ЭВАН Next 28 сочетает в себе высокую мощность, простоту эксплуатации и долговечность, что делает его отличным выбором для владельцев больших домов и дач.
    Электрический котел ЭВАН Next 28 купить в Лиде с доставкой и рассрочкой платежа.
  • Отзывы

    Имя:
    Прикрепить изображения
    Вопросы и Ответы:
    Имя:
    E-mail:
    Прикрепить изображения

    0 Вопросов
  • Условия доставки и оплаты

    Условия доставки Электрический котел ЭВАН Next 28 в Лиду
  • С этим товаром покупают

Гарантия и возврат

Амазонка бай реализует более 10 000 товаров надлежащего качества от проверенных поставщиков, зарекомендовавших себя как ТОП-производители. Гарантия производителя распространяется на гарантийный талон либо иной другой документ его заменяющий. 

В случае возникновения гарантийного случая необходимо обратиться в сервисный центр или в наш отдел по рекламациям.

Какие гарантийные сроки?

В основном на продукцию распространяется гарантия от 12 месяцев до 25 лет в зависимости от срока, предусмотренного производителем. Данная информация указана в гарантийном талоне либо ином заменяющем его документе.

За более подробной информацией и разъяснениями можете обращаться к нам по телефону +375 (29) 8000 226. Всегда рады помочь!

Какая информация должна быть в гарантийном талоне?

Гарантия содержит информацию:

  • дата реализации;
  • модель товара;
  • серию и номер.

В талоне проставляется штамп торгующей организации и печать ответственного лица.

Легкий возврат товара

Возврат некачественного товара.

Для возврата приобретенного недоброкачественного товара будет необходимо:

  • связаться по телефону +375 (29) 8000 226 с отделом по рекламациям, объяснить причину поломки;
  • предоставить документы, свидетельствующие о приобретении: кассовый чек, товарный чек, ТН, договор поставки и иные документы, доказывающие факт приобретения данного товара;
  • оформление возврата некачественного товара  - заявление;
  • согласование возврата денежных средств либо замену товара.
Требования потребителя о соразмерном уменьшении покупной цены товара ненадлежащего качества, возмещении расходов на устранение недостатков товара потребителем или третьим лицом, расторжении договора розничной купли-продажи и (или) возврате уплаченной за товар ненадлежащего качества денежной суммы подлежат удовлетворению продавцом (изготовителем, поставщиком, представителем) незамедлительно. В случае, если удовлетворить требования потребителя незамедлительно не представляется возможным, максимальный срок для удовлетворения требований потребителя не может превышать семи дней со дня предъявления соответствующего требования, а при необходимости проведения экспертизы – четырнадцати дней.

Возврат товара надлежащего качества.

В случае возврата доброкачественного товара, потребитель осуществляет возврат в течение 14 календарных дней с момента приобретения. Товар должен быть в заводской упаковке, без повреждений, содержать все сопроводительные документы (гарантийный талон, паспорт изделия и т.д.) и иметь такой же вид, как при покупке.
Обращаем Ваше внимание, что возврат возможен не на все категории товаров. Перечень непродовольственных товаров надлежащего качества, не подлежащих обмену и возврату, утвержден Постановлением Совета Министров Республики Беларусь № 778 от 14.06.2002 года. (Изделия под заказ, отрезные товары)
Остались вопросы? Позвоните нам для уточнения +375 (29) 8000 226.

Простая замена товара

Я могу вернуть доброкачественный товар?

Да. Если Вы приняли решение вернуть качественный товар, такая возможность действует в течение 14 календарных дней со дня приоретения. Внимание! Товар должен иметь продажный вид как при покупке, без следов эксплуатации.
Однако вернуть можно не все покупки. Перечень непродовольственных товаров надлежащего качества, не подлежащих обмену и возврату, утвержден Постановлением Совета Министров Республики Беларусь № 778 от 14.06.2002 года. Обмен и возврат продукции осуществляется на территории продавца.

Как вернуть недоброкачественный товар?

Для возврата товара ненадлежащего качества требуется:

  • обратиться к торговой организации;
  • предъявить документы, подтверждающие покупку;
  • обязательно предоставить заявление на возврат;
  • обговорить возврат средств с менеджером.

Необходимо некачественный товар вернуть по месту расположения продавца.

Кредит и рассрочка товара

Введите ваши данные